科技圈
作品数 4417
云开·全站体育app登录 中国最早的立交桥在绍兴,你猜是哪一座?
云开·全站体育app登录 中国最早的立交桥在绍兴,你猜是哪一座?这座条背后又有怎样的繁华故事?
2025-02-08 03:03:37
kaiyun.ccm 往期精选:基于FIR滤波器的带限白噪声的设计
kaiyun.ccm 往期精选:基于FIR滤波器的带限白噪声的设计大侠好,最近本媛比较忙,没有时间更新。时间太长,怕大家忘了我,今天我来了,今天由“82年的程序媛”本媛给大侠带来基于FIR滤波器的带限白噪声的设计
2025-02-08 03:03:31
kaiyun.ccm 记忆中的老丰台镇, 桥北或桥南的老丰台人才能看懂!
kaiyun.ccm 记忆中的老丰台镇, 桥北或桥南的老丰台人才能看懂!30年前的丰台,感觉桥北是城市,桥南是农村,那时的丰台大街叫“丰台长安街\x26quot;……
2025-02-08 03:03:22
kaiyun全站网页版登录 【JY】钢结构梁柱连接节点构造详解
kaiyun全站网页版登录 【JY】钢结构梁柱连接节点构造详解1. 梁与柱的连接1.1 梁与柱刚性连接的构造,形式有三种。(1)梁翼缘、腹板与柱均为全熔透焊接,即全焊接节点;(2)梁翼缘与柱全熔透焊接,梁腹板与柱螺栓连接
2025-02-08 02:02:59
kaiyun.ccm 你知道哪种公务机飞得快吗?
kaiyun.ccm 你知道哪种公务机飞得快吗?说到民用航空,公务机无疑是其中的佼佼者,它为那些买得起的人提供了独一无二的速度和奢华。 塞斯纳 Citation X/X+: 993公里/ 617英里/小时。
2025-02-08 02:02:48
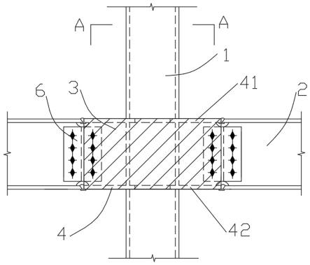
开yun体育app官网网页登录入口 一种端板和截断环板组合式梁柱连接节点的制作方法
开yun体育app官网网页登录入口 一种端板和截断环板组合式梁柱连接节点的制作方法1.本实用新型属于建筑结构中的梁柱连接节点技术领域,特别涉及一种端板和截断环板组合式梁柱连接节点。背景技术:2.在装配式钢框架结构中
2025-02-08 02:01:07
kaiyun全站网页版登录 预制箱梁质量验收和质量控制
kaiyun全站网页版登录 预制箱梁质量验收和质量控制预制箱梁质量验收和质量控制箱梁预制施工工艺流程图检查维修底模涂脱模剂安装支座预埋板等底腹板钢筋吊入安装端模顶板钢筋吊入调整混凝土浇筑抽拔橡胶管覆盖洒水养护拆端模松内模预 张 拉出内
2025-02-08 01:02:14
kaiyun.ccm 3000+元的专属优惠,全网独家~
kaiyun.ccm 3000+元的专属优惠,全网独家~整个电商的发展一直是在大浪淘沙,有多少我们曾经耳熟能详的名字逐渐湮没于历史,而一直发展壮大下来的平台要么成为全品类的电商巨无霸
云开·全站体育app登录 美日两国钢框架梁柱节点连接方式对比分析
云开·全站体育app登录 美日两国钢框架梁柱节点连接方式对比分析美日两国钢框架梁柱节点连接方式对比分析一 震害情况调查和分析如果钢结构设计或施工不当,尤其是钢结构梁柱节点连接结构的设计不合理。当发生强震时,它会造成严重的地震。
2025-02-08 01:01:59
云开·全站体育app登录 广东稳工业再出实招,发布“1+3”系列增量政策
云开·全站体育app登录 广东稳工业再出实招,发布“1+3”系列增量政策9月5日上午,广东省稳工业“1+3”系列增量政策新闻发布会召开。近日,广东省政府制定实施了稳工业“1+3”系列增量政策。
2025-02-08 00:05:22