住宅项目为上部装配式结构、地下室3万平方米(其中人防地下室1万平方米)、上部高层6万平方米、联排别墅2万平方米,合计11万平方米。
一家钢筋劳务公司过来报价:“总经理,我看到了我们工程的图纸,非人防地下室我报价××元/平方米,人防地下室××元/平方米”地下室kaiyun全站网页版登录,上部高层××元/平方米,上部排屋××元/平方米。 ××元/平方米,这是市场上最低的价格,这个价格不含税,不信你可以四处打听。另外,我还有一个好主意。高层剪力墙隐柱钢筋直径为12,可采用电渣压焊接头。你可以补贴我1.5元/个接头,我帮你节省钢筋绑扎材料费用和箍筋加密费用。你怎么认为?”
那么问题来了:3级钢12可以采用电渣压力焊吗?电渣压焊和捆扎哪种方法更经济?

【问题1】3级钢12可以采用电渣压力焊吗?
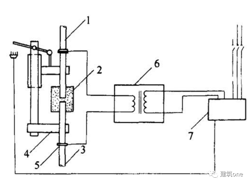
先确认一下就可以了。目前只能采用电渣压力焊焊接暗柱12英寸立筋。墙壁的垂直钢筋通常被认为是重叠的。请注意,电渣压焊只能用于垂直方向,不能用于水平方向。
《钢筋焊接及验收规范》JGJ18-20××在前言中已提及,主要修改内容在第3条:
3 钢筋电渣压力焊钢筋直径下限由14mm延长至12mm。

4.6 节中钢筋的电渣压力焊接。由于直径12mm的钢筋细且软,被焊接夹具夹紧后,钢筋很容易弯曲。因此,为了保证直径12mm钢筋的电渣压力焊接质量,第4.6.2条规定“应采用小型焊接夹具开yun体育app官网网页登录入口,并进行更多的焊接工艺试验”:
4.6.2 直径12mm钢筋电渣压焊时,应采用小型焊接夹具,上下钢筋应对齐,不得歪斜。应多进行焊接工艺试验,以保证焊接质量。
4.6.6 表中规定的焊接参数仅供参考。实际生产中,应通过焊接工艺试验优先选择最佳焊接参数。合适的焊接参数还随所使用的焊剂(例如电渣压焊专用焊剂)、焊机(例如全自动电渣压焊机)以及钢筋等级的不同而不同。

可见,规范允许12根钢筋进行电渣压焊,但必须保证施工质量。三级钢筋电渣压力焊的实际操作很难满足要求。电渣的质量要求很高,操作经验也很重要。请严格遵守规范,使用优质电渣!

[问题2]电渣压焊和捆扎哪种方法更经济?
暗柱主肋为什么需要焊接?这是因为如果采用搭接,则搭接范围内的箍筋需要密集排列,间距为主筋直径的5倍。焊接后可节省钢筋用量。
算算下来,60cm以内绑扎钢筋的长度加上至少6根密集箍筋,比电渣压焊节省的材料成本要多得多吧?
所以同志们,12mm HRB400钢筋电渣压力焊从节省材料的角度来说是合适的。只要焊接试验合格,现场质量验收通过,为什么不能使用呢?

【问题三】电渣压力焊会延误工期吗?
对于一些反对直接打结电焊的同志来说,搭接处还需要加密吗?这也很花时间好吗?有时候你忘记戴加密马镫,主管不会放你走的,好吗?
电渣压焊可安排在夜间或中午错开施工kaiyun.ccm,避开用电高峰,不占用主要施工时间。
加班问题对于中国钢铁工人来说不是问题。对于中国工人来说,只要你给他们,你肯定能赚钱,他们晚上不睡觉也会给你做。
【问题4】电渣压焊接头如何计算?
让我们回到最初。经过几轮讨价还价,总承包商与钢筋劳务公司准备签订合同。最后对方说:我的报价很低,现在已经考虑到3%的税率了。电渣压焊接头数量补贴为1.5元/个。无论现场是否有施工,均按图纸数量计算金额。

同志们,看看现在的劳务承包队伍。千人传承下来的狡猾,得到了充分的展现。他的真实意图并不是为了节省钢材成本,而是为了这笔补贴。如果合同上这么写,你真的会焊接吗?焊接质量还能接受吗?
因此,最终合同中写的是:电渣压焊按1.5元/件计算,以现场实际数量为准。若出现质量问题导致返工,一切损失由乙方承担。
加入建一工程学院,一起学习、成长!


