液压阀是液压传动中用来控制液体压力、流量和方向的元件。根据不同的分类方法,液压阀分为许多不同的类型。
常用液压阀:方向阀、压力阀、流量阀
(1) 换向阀
一般来说,方向阀的作用是控制液压系统中液体流动的方向,但不同类型的阀门其具体功能有所不同。方向阀有多种类型。常用的换向阀按结构分类如下:
单向阀:分为普通单向阀和液控单向阀。

换向阀:分流阀式换向阀和滑阀式换向阀。阀芯式换向阀可分为手动换向阀、电动换向阀、电动换向阀、液动换向阀和电液换向阀。

手动换向阀↑

液压换向阀↑


(2)压力控制阀
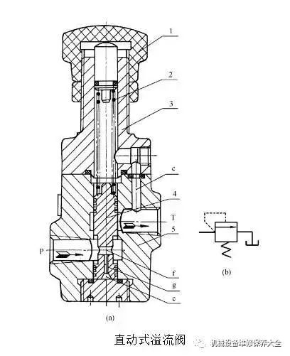
溢流阀:有直动式溢流阀和先导式溢流阀。

安全阀↑


减压阀:有直动式减压阀和先导式减压阀。

减压阀↑
顺序阀:有直动式顺序阀和先导式顺序阀。

顺序阀↑
(3)流量控制阀
流量控制阀包括节流阀、调速阀等。
换向阀的控制方法、换向阀的通道和位置
换向阀的控制方式有手动、电动、电动、液动、电液动五种。换向阀的油口数量是指阀体上的油口数量。端口数量多的称为多通阀。
换向阀的位置是指换向阀芯与阀体相互位置发生变化时所能得到的端口连接形式的数量。几种连接形式称为几种阀门。
如果换向阀有4个油口,3种连接方式,并且是电动的,则该阀的全称是三位四通电磁(电动)换向阀。

两位二通换向阀↑

三位四通换向阀↑

五位三通换向阀↑
减压阀的性能特点及应用
减压阀将其出口压力控制在某个恒定值,因此最好希望这个值不会受到其他因素的影响,但这是不可能的。
事实上,当通过减压阀的流量或一次压力(入口压力)发生变化时,二次压力(出口压力)也会发生变化(波动)。
二次压力随流量或一次压力变化的变化称为减压阀的恒压精度。变化小kaiyun全站网页版登录,恒压精度就高;反之,恒压精度就会低。
溢流阀、减压阀、顺序阀的功能区别
简单来说,溢流阀的作用是稳定阀门的进口压力,减压阀的作用是稳定阀门的出口压力,顺序阀的作用是接通(顺序阀工作时)或切断关闭(当顺序阀关闭时)某一油路。
顺序阀可作为溢流阀使用(但其性能稍差)。只需将其入口连接到液压泵,将其出口连接到油箱即可。例如,直动式顺序阀用作直动式溢流阀。
选择换向阀时应考虑哪些因素?
选择换向阀时,应根据系统的动作周期和性能要求开yun体育app官网网页登录入口,结合不同元件的具体特点和适用场合进行选择。
①根据系统的性能要求,选择滑阀的中位函数、位数和通道数。
②考虑换向阀的控制要求。例如,手动控制时,采用手动或脚踏式;对于自动控制,采用机动、电动、液压或电液式;远距离控制可采用电动或电液式;对于那些需要平稳运行的,请使用电动类型。或主阀芯运动速度可调的电液式;可靠性要求较高的机动型。
③根据阀门的最大流量和最大工作压力来选择(查表)。最大工作压力和流量一般应在所选阀门的范围内,最大流量不应超过所选阀门额定流量的120%。否则,压力损失过大,产生热量和噪音。如果没有合适的,也可以使用压力和流量较高的一种,但经济性较差。
④除注意最高工作压力外,还要注意最低控制压力是否符合要求(对于液压阀和电液换向阀)。
⑤选择元件的连接方式:管式(螺纹连接)、板式、法兰式,应根据流量、压力和元件安装机构的形式来确定。
⑥当流量超过63L/min时,不能使用电磁阀,否则电磁力太小,无法推动阀芯。此时,可采用其他控制形式的换向阀,如液压、电液换向阀。
选择压力阀时应考虑哪些因素?
根据系统的不同要求以及具体阀门的性能和特点kaiyun.ccm,选择相应的阀门。所选阀门的压力调节范围和额定流量应大于系统要求的值。
当要求保持系统压力基本恒定,防止系统过载、卸载或造成背压时,可采用溢流阀;当系统有两种压力,其中一种压力较低或限制执行机构的力时,可使用溢流阀。使用减压阀;当要求执行机构有顺序动作时,可以采用顺序阀或压力继电器。压力继电器还具有安全保护功能。选型后,根据阀门所在系统的最大工作压力和通过阀门的最大实际流量来选择阀门的规格。 (结尾)

