
本文是从“防止滑坡和控制的技术指南”一书中选择的。
首次发表在《微信》公共叙述上“自然资源之声”
目前,通用探索技术和滑坡的方法主要包括工程地质测量,勘探(钻探,山区工程,地球物理探索),采样和测试,监测等。陆滑探索应根据基于适当的探索技术方法,基于适当的探索技术方法需要确定的问题。
5.1工程地质测量和映射
工程地质测量和地图是滑坡勘探工作的基础,例如钻探,山区工程和地球物理探索。它是第一个在各种勘探方法中进行的,它是初步勘探阶段和陆地滑坡详细勘探阶段的重要技术手段。相关要求如下。
1)应根据遥感解释结果和现有区域地质数据的充分利用来进行滑坡工程地质测量和映射。测量的范围应包括滑坡区域及其附近地区,后部应包括稳定的斜坡,在滑坡的后壁上方的一定范围内。或水坑水坑,正面应包括剪切出口下方的稳定区域,并且两侧应达到滑梯外或靠近山谷的一定距离。涉水的滑坡仍应到达河水表面(水库)或对面的河岸,并且通常在滑坡边界外受到50的控制。 〜100m。同时,它应包括可能的危害和造成灾难的范围。
在某些情况下,应将纵向宽度扩大到重要变化,例如斜坡顶部,山谷肩部,山谷底部,岩性或斜率,水平方向应包括地下水露头和重要的地质结构。
2)在滑坡探索的不同阶段,工程地质测量的规模和准确性要求不同,相关的技术要求也不同。有关每个阶段的特定技术要求,请参见本指南第4章的引入。
3)工程地质调查和映射方法采用了一种全面的调查方法,并应采用重要的地质现象,例如边界,裂缝,软层间和剪切出口。
4)在涵盖或现象不明显的区域中,应进行手动暴露,以确保测量和映射的准确性并确定重大的工程地质问题。
5.2探索
滑坡探索的技术方法主要包括钻井kaiyun全站网页版登录,山区工程(井勘探,槽勘探,洞穴探索)和地球物理探索。勘探是滑坡勘探工作的重要组成部分,应根据滑坡地区的地质条件的复杂性来确定工作量和工作方法。滑坡探索的主要任务是找出每个滑动带的滑动表面(皮带)的范围,厚度,材料成分,数量,形状,形状;基本上找出每个含水层的滑坡,动力学和液压连接中地下水含水层的数量,分布和来源。
5.2.1钻孔
钻孔用于了解地质灾难体的内部组成和结构,包括岩石构图,滑动表面(皮带),倒塌危险岩石的控制结构表面以及地下水状态,观察到深处的位移部分,并收集各种岩石样品。通过钻井收集的核心,结合钻井速度,空心钻孔,果酱钻孔以及钻井过程中的冲洗液泄漏,滑坡的结构以及地下水含水层的位置和埋葬深度,可以确定地下水含水层中包含的地下水含水层。还可以使用钻井,抽水测试,水喷射测试,物体检测井等进行测量以测量水质地质参数,例如地下水水位和水位涌入量,以及水样品用于进行水质分析和其他水文地质工作。滑坡勘探钻探也可用于监测山体滑坡和地下水的深层位移,以进行长期监测。
钻探是滑坡探索最重要,最常用的技术手段。要投资的工作数量应根据地质区域的地质条件的复杂性和勘探阶段的技术要求确定。
5.2.1.1选择钻井技术方法
1)尝试选择对滑坡地层几乎没有干扰以提高核心采用率的钻井方法。
2)粘土土壤,淤泥土壤,人造土壤和不容易倒塌的砂土应以干燥的方法进行钻孔。
3)滑动主体下地下水位以下的岩石和土壤层,以及滑动带及其上下范围5m的岩石层,应对滑坡的小干扰进行钻孔,例如双管单一动作 - 管双动作,没有泵反向循环和其他钻孔方法。
5.2.1.2滑坡钻孔的新技术 - 空气潜水锤高跟管的离心钻孔技术
为了应对技术问题,例如低核心钻探率,低钻井效率以及影响形成稳定性钻探流体的损失,中国地质科学院的勘探技术研究所采用了空气钻探原则,勘探技术研究所中国地质科学院的著作。通过优化设计,快速的钻孔速度,良好的中心质量,对核心钻井场的钻井场和钻井场的钻孔技术的钻井技术结合在一起,对形成稳定性新钻井技术 - - - - 空气潜水锤和管道钻探技术,
它还开发了核心技术产品,例如GGQX系列潜进锤鞋跟心脏钻孔工具,构成了三种产品规格:GGQX-168,GGQX-146和GGQX-127。空气潜水锤中心钻孔技术的技术特征如下:
它具有良好的壁保护效果的优势,同时钻孔和管道钻孔速度和快速钻孔速度。机械钻孔速度通常约为3m/h,是常规核心钻井方法的2至3倍。
核心采用率很高(≥90%),质量很好(透明核心层,无链,没有污染)。
空气(干钻)用于钻孔,冲洗介质对滑坡稳定性没有影响。
防止滑坡预防和控制项目的常见设备(完全液压锚固钻机,中风空气压缩机等)通常可以满足使用条件。
(1)井下锤管心脏钻孔工具
A.钻井工具结构
如图5.1所示,钻井工具主要由三个组件组成:气动撞击器(螺栓锤),中心中心钻孔工具和套管启动组件。前两个连接为一个,并且可以用钻管(以拿起核心)来抬起并降低。后者连接到套管柱,并留在孔中以保护孔壁。

图5.1井锤脚跟管心脏钻孔工具
B.钻井工具特征
C.钻孔工具规格,主要技术参数
表5.1显示了钻井工具的规格和主要技术参数。
表5.1空气潜水锤高跟管中心钻孔工具的主要技术参数


(2)支持潜水孔锤钻工具
由于子孔锤管中心钻孔工具的钻孔深度能力通常不超过40m,以解决大于40m的钻孔深度的钻孔要求,因此也有可能处理在钻孔期间的可能性。子孔锤管中心钻孔工具的钻孔。核心的钻孔故障掉落,大量钻孔芯片配备了相应的浸没锤核钻孔工具。
A.钻井工具结构
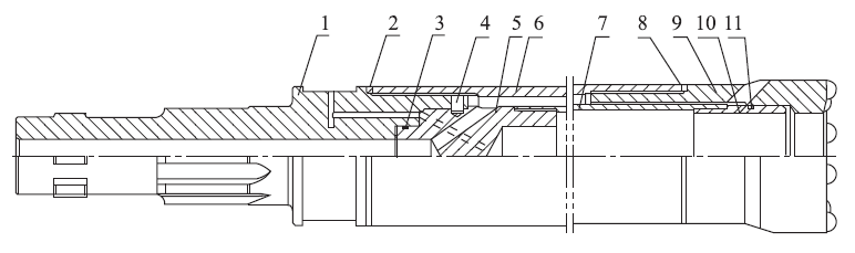
如图5.2所示,淹没的锤芯钻孔工具属于双动作双管核心钻孔工具结构类型。它主要由上关节1,抗凝干垫2和8,O形圈3和11,销钉4,内管接头5,外管6,内管7,中心钻头9和内管短10部分组成。上连接器1直接连接到空气冲击器。

图5.2钻孔工具的结构示意图,用于用浸没锤钻孔
对应于子孔锤脚跟核心钻,亚孔锤芯钻有三个规格,其中φ127钻头与GGQX-168钻头匹配。 φ108钻头与GGQX-146钻头匹配; φ89钻头与匹配的GGQX-127钻孔工具匹配。表5.1显示了钻井工具的规格和主要技术参数。
B.用法
直接用于裸露的孔中心钻孔:在滑坡勘探中,在孔深度大于40m的钻孔中,首先使用淹没的锤子式式式式式式插入管道钻至约40m的孔深度,然后更换匹配的淹没孔。锤头钻孔工具可以钻直到最后一个孔。在相对稳定的地层中,可以直接钻孔的孔锤头钻孔工具可大大提高效率并降低成本。
作为用于处理孔中故障的特殊钻孔工具:在中心和管道中进行钻孔时,不可避免的是,核心将掉入孔的底部(残留芯),否则异物将落入孔中,或者沙子由于操作错误,不可避免地会在孔的底部积聚,大量钻孔将不可避免地发生。对于沉淀等,可以使用浸没锤核钻孔工具进行孔扫术处理。
(3)在气孔锤管下采用中心钻孔技术的介绍
连续调查了亚孔锤管的钻孔技术Mianguang Road K284+798〜K284+854节。在工程学中,已经实现了良好的居中和管道钻井技术。管道钻孔的钻孔深度为20〜37m,核心采用率为≥90%,钻孔速度为≥2.5m/m,并且钻孔效率高于常规方法。增加超过100%。图5.3是亚孔锤管的核心钻孔所取的滑动带的核心,图5.4是河床的积累地层所取的核心的核心。

图5.3潜水锤高跟管钻孔采用的滑动皮带芯

图5.4钻孔管的钻孔所取的河床堆叠层的核心
5.2.2山工程
山区项目包括槽探索,井探索,洞穴探索等。各种山区项目的用途和使用条件如表5.2所示。可以根据滑坡的地质条件和勘探阶段的技术要求选择它们。
表5.2滑坡勘探山工程的适用性

(1)低谷探索
槽探索是一个简单的浅开挖项目云开·全站体育app登录,其发掘深度通常不超过5m。简单的开挖工具可用于根据岩石和土壤体的类型以及槽勘探的深度进行斜坡发掘,并根据坡度坡度法方法使用挖掘法规。当弱地层和深槽时,应采取临时保护措施,例如木板和钢管支撑。
对于调查后不再使用的凹槽探针,应进行回填并将其恢复到原始地面。
(2)探索良好
用于滑坡探索的勘探的构造深度可达到20m。它主要用于识别具有中等或深度滑动表面的复杂滑坡的结构,收集滑动条土壤的原始土壤样品,并在井中进行大规模的现场剪切测试。
井探针通常使用垂直轴。由于建筑发掘和开挖项目是大型的,因此需要专业的挖掘,需要提起炉渣和其他设备。建筑安全要求很高,井墙需要特殊的支持。
通过开挖形成的垂直轴可用作以后的滑坡处理和排水项目,监测井的水文地质学等动态变化等。未使用的勘探井通常应进行回填并恢复到原始地面。
(3)探索
洞穴探索是用于识别深度滑坡或复杂滑坡的大规模勘探项目之一。洞穴探索通常是水平隧道项目。
开口主要是在滑坡的前部或后缘,水平隧道渗透到滑床或滑床下方的一定深度。它主要用于找出复杂的滑坡的结构,尤其是找出滑动带(或弱结构表面)的位置,收集滑动皮带土壤的原始土壤样品,以在孔中进行大规模的剪切测试。洞穴体的部分主要是在城市门口拱起的,孔通常高1.8m,宽1.5m。隧道建设中的地球和石材项目的开挖很大,需要一个专业的隧道建设团队,该团队使用钻井,爆炸发掘,炉渣转移以及其他机械和设备,这些机器和设备具有很高的建筑安全要求,并且对顶部的特殊支持需要洞穴的墙壁。孔的入口需要用作导孔开yun体育app官网网页登录入口,需要保护孔顶部的斜率。
挖掘形成的隧道通常用作随后的滑坡治疗项目的排水隧道。
5.2.3地球物理探索
滑坡地球物理探索的主要任务是限制滑坡物体的空间分布边界,检测滑坡区域的水含量,检测结构表面和滑动表面的数量,深度和形态变化,并检测地层结构,隐藏的边界,隐藏的边界,隐藏的边界和山体滑坡的隐藏地质体。等待。
(1)针对滑坡探索的常见地球物理探索方法
表5.3显示了常用的地球物理探索方法,其应用条件以及滑坡勘探中的技术和经济特征。
表5.3滑坡地球物理探索方法的适用性摘要表




(2)选择滑坡地球物理探索方法的原则
为了充分发挥地球物理探索技术在地质灾难探索中的作用,在选择特定方法和手段时应考虑以下选择原则。
充分收集和分析工作领域中现有的地质,工程地质,水文地质学,地球物理勘探结果数据,水文,气象和其他相关数据。根据工作区域的地质环境和灾难类型选择相应的技术方法。
地质和地球物理探索技术人员前往工作区进行现场检查。基于工作区域的现场条件,结合了必须避免的原理,适当的工作环境以及约束和不利因素的结合,他们将根据当地条件进行分析和选择。
在允许全面探索工作量的前提下,使用多种方法和尽可能多地发挥自己的优势,互相验证和补充;并确保地面和深(井,洞和洞穴)地球物理勘探工作适当匹配。
(3)滑坡地球物理勘探方法的最佳组合
根据“探索滑坡预防和控制工程的规格”(GB/T32864-2016),表5.4显示了针对压倒性地球物理探索方法的建议优化和组合方法。
表5.4优化组合表的滑坡地球物理探索方法

注意: *可用的方法; ***普通方法; ***首选方法。
5.3抽样和测试
在滑坡探索过程中,应系统地分析和确定岩石,土壤,地下水等样品,以获得必要的参数。
测试工作主要包括现场测试和室内实验,通常与测试内容一起进行,以满足滑坡稳定性评估和管理工程设计的需求。测试对象应包括滑动身体,滑动皮带,滑动床岩石和土壤尸体以及地下水;主要的测试内容包括物理性能,机械性能,地下水组成和腐蚀,岩土化学化学成分,矿物质成分,微结构等,根据特定需求行为。
(1)水文地质原位测试
水文地质原位测试的目的主要是了解滑坡含水层和土壤渗透率系数的状态。测试方法包括钻水测试,钻孔水抽测试和测试坑注水测试。当地下水在滑坡中存在时,应进行抽水测试。如果滑坡中的地下水体积很小,则可以使用简单的抽水测试(将圆柱体提升到水中);当滑坡的地下水体积很大时,应进行最大的降低抽水测试,稳定时间应为4〜8H;当滑坡体有多个含水层时,应进行分层的水抽测试。当滑坡物体高于地下水水平时,应使用注水测试。当垂直方向岩石(土壤)体的组成和结构具有很大的差异时,应进行分层喷射测试。
(2)岩土工厂测试
岩土土壤的现场测试包括在滑动区土壤上进行大面积直接剪切测试,并在滑动区的土壤和滑动身体土壤上进行大容量和大型测试。在剪切测试之前,应描述测试片的特性,例如饱和状态和材料组成。测试完成后,应描述剪切表面的特性,剪切角和实际剪切区域,并应校正剪切结果。体积方法应用于大容量重量。测试坑的体积应根据土壤的组成和粒径确定,并且可以通过注入水量来测量体积。
(3)岩土土壤的室内测试
室内岩土测试应符合“工程岩体测试方法”(GB/T50266-2013)和“ Geotechnical Test方法标准”(GB/T50123-1999)的规定。应针对具有潜在滑动带的土壤而没有滑动表面的土壤进行室内三轴压缩测试。如果不满足测试条件并需要有效的应力强度指数,则可以使用缓慢的剪切测试。有关岩土技术分析中室内实验的含量,请参阅表5.5。
表5.5岩土技术和机械性能的室内测试项目列表

注意:√表示应该执行的测试,○指示应根据需要执行的测试;根据需要确定水质分析;室内测试岩土工程样品应根据JGJ/89-92“原始样品采样的技术标准”采集。
5.4监视
滑坡的动态观察和监测包括两个方面:长期位移观察和滑坡的地下水观察。观察和监测的目的是分析滑坡的形成机制,活动状况和发展趋势。对于某些滑坡,尤其是沿层滑坡,监测数据还可以帮助分析滑动表面的空间分布特征。通过观察和监测,我们可以掌握滑坡的运动过程,确定滑坡达到其最大运动速度和滑坡体的状态的时间,从而分析和预测滑坡体的未来发展趋势。滑坡监测主要包括表面变形监测,裂纹监测,建筑物变形监测,滑动表面位移监测,地下水级别的监测,土壤水分含量含量检测等。
当铺设水平隧道和垂直轴以进行探索时,监视隧道(井)出口位移,隧道中的滑动带位移(井),裂纹收敛的变化,位移stragessing straggersing等。
本指南的第六章中显示了针对滑坡监测的特定技术方法和选择方法。
5.5勘探技术方法的应用程序案例
探索技术方法应根据滑坡的地质环境条件,勘探阶段的技术要求和勘探施工条件进行合理选择,以找出滑坡类型,结构,范围,范围,形态等的特征,并获得合理的物理物理和机械参数。以下是四川丹巴建筑街(Danba Construction Street)的滑坡探索,以介绍各种探索技术和方法的实际应用。
四川Danba Jianshe街上的滑坡位于丹巴县的西南部,这是古老的滑坡。自2003年以来,滑坡逐渐开始复活,到2004年12月,变形已经加强,必须进行工程管理,因此进行了滑坡勘探。滑坡是一个大型的滑坡,山体滑坡区域主要由宽松的古代滑坡积累组成。滑坡的身体位于飞机上的环形椅子上,高度为1881年至2110m,前部和尾巴之间的高度差为223m,而滑坡的前边缘到达丹巴县的Jianshe街。滑动体的宽度为200至250m,纵向长度为290m,面积约为0.08 km2,平均厚度约为30m,体积约为2200×104m3。滑坡的前部是在手动发掘后建造的干块石斜坡的陡峭山脊,坡度为56°〜65°。中间的平均斜率为31°,背面的柔和斜率截面约为10°。
根据变形开发过程,引起滑坡机构的原因和滑动特性,滑坡区域被分为主要滑动区域(包括两个子区域I-1和I-2),左后牵引区(II) ,右后牵引区域3区(III)(图5.5和图5.6)。

图5.5四川江口街后面的斜坡

图5.6四川丹巴·贾斯街的滑坡平面图
根据滑坡的地质环境条件,根据实际的1:500地形图,使用工程地质测量,地球物理探索,钻探,槽,现场和室内测试等技术方法进行了全面的探索滑坡动态监控。每个调查技术方法的应用如下。
(1)工程地质测量和映射
进行了一定范围的外围地质区域和斜坡区域的工程地质测量和地图,面积为0.342 km2。通过工程地质测量和映射,发现了滑坡的外部形态,滑坡元素和变形活动,并确定了地球物理探索,钻孔沟渠勘探和监测的基础。
(2)地球物理探索
根据Jianshe Street Landslide的堆叠滑坡的性质,高陡峭的地形以及实施诸如钻探和山区工程等重大勘探工作的困难,在勘探技术方法中,已加强了地球物理探索方法的应用。
地球物理勘探工作使用高密度的电气方法和电深度方法。有15个(比例尺1:500)和3(比例尺1:200)和3.5公里的地球物理探索曲线,具有970个高密度电气测量点和18个深发声点。
高密度电气方法使用暖氧装置,电极间距为5m。电极的数量为60,电源电压为180V。超声处理的电深度采用对称四极杆设备,最小AB/2为1.4m,最大AB/2为115m,MN/2为1m,电源电压为180V。
通过地球物理探索工作,结合了钻井和工程地质测量和映射,基本上发现了滑坡区域的滑动体的厚度以及基本上基岩的起伏和埋葬深度。
(3)钻探
根据滑坡的环形地面的特征和裂缝的分布,沿着主要滑动方向排列了一条纵向主勘探线和两条辅助勘探线,一条主要的勘探线和两个辅助探索线被水平排列。在勘探线和其他部位的交点上,总共排列了7个钻孔,总入口规则为3.18亿,平均孔深度为45m。后来,根据治理项目的需求,布置了7次其他勘探演习。主要的探索概况如图5.7所示。

图5.7 Sichuan Danba Jianshe街后面的滑坡纵向段的示意图
钻孔使用全孔中心,盖层使用植物胶洞保护或管道钻孔过程,而滑坡身体的核心采用率达到80%以上。
钻孔和探索发现了滑坡的厚度,滑动表面的位置和形状,地下水埋葬的深度以及在滑动表面下的岩石和土壤的特性,提供了基本地质数据,以计算计算的稳定性滑坡并判断其发展趋势。
(4)山区工程
山区项目使用槽探索,在滑坡的后缘边缘的裂缝处设置了四个槽,以了解不同的岩石和土壤体之间的接触关系以及裂缝,并进行采样测试。
(5)现场和室内测试
土壤样品:滑坡物体主要由石头和土壤块组成,很难获得土壤样品。在ZK4钻孔中仅采集了一组土壤样品,并进行了常规的室内测试。结合探针凹槽在幻灯片上的不同位置的发掘工作,完成了6组主要和重度测试。
岩石样品:在每个钻孔中采集样品并进行了室内测试,共8组,并获得了岩石的物理和机械数据,以进行滑坡处理设计。
(6)对滑坡的动态监控
为了完全掌握从2005年1月21日开始的滑坡的变形活动,总共有46个专业监控点(总站监控)和26个人造简单监测点逐渐根据降落物体安排滑坡。一个特殊的人被派去进行有关坡度主体各种变形和损坏迹象的手动检查。同时,使用滑坡的主勘探线上的钻孔排列了三个深层位移监测孔,并使用钻孔倾斜计实时监视滑坡的深层位移。丰富的表面和深层位移监视信息为滑坡稳定性分析以及汇冰控制项目的构建提供了重要的基础。
本文从“防止滑坡和控制技术指南”中选择(Yin Yueping等人,地质出版社,2018年)。
点击上面的迷你程序购买


